シリコンパッド
シリコンパッドの種類と特徴
シリコンパッドには、① 形状、② 硬さ、③ タイプ、④ ベースの種類があります。印刷範囲、ワークの形状などにより適切なシリコンパッドを選定する必要があります。
① 形状
- 印刷の図柄とワークの形状に合わせて、形状群を決め、さらにその中からもっとも適すると思われるパッドを選定します。
- 一般的に、とがった形状のパッドの方が、印刷が美しく仕上がります。
- 曲面への印刷はできるだけ大きく、とがっていないパッドが歪みが少なく仕上がります。
- とがっていないパッドは印刷速度をやや遅く印刷すると美しく仕上がります。
- ワーク形状が複雑等で特殊な形状のパッドが必要な場合は、特注でパッドを製作することができます。
② 硬さ
パッドの硬さは、ワーク形状、図柄、インキ、印刷速度などにより選定する必要があります。
| 型番表示 | 硬さ |
|---|---|
| 0 | 柔らかい |
| 1 | やや柔らかい |
| 2 | 標準 |
| 3 | やや硬い |
| 4 | 硬い |
| 4H | 非常に硬い |
③ タイプ
ナビタス製パッドには、以下の7タイプがあります。それぞれインキ乗り、インキ離れ、耐久性などの特性が異なります。ご相談いただければ最適なパッドをご案内させていただきます。
| タイプ | 特長と用途 |
|---|---|
| Gタイプ | Oタイプの改良版。オイルブリードは減少、ヒゲの発生は軽減。より使いやすくなりました。 |
| Dタイプ | オイルブリードが非常に少なく、ワークに跡がつきにくい。 |
| Eタイプ | Cタイプの離型性を改善。記録メディアのインラインでの実績あり。 |
| Cタイプ | インキ乗りが良好で、印刷の欠けが出にくい。耐久性が高いので、インラインでの利用実績が多い。 離型性が問題になる場合はエアーブローが有効。 |
| Oタイプ | 離型性が良いので印刷の仕上がりが良好。多方面の用途に利用実績あり。 |
| Aタイプ | 離型性と耐久性が高いので、インラインの高速連続印刷に適する。徐々に硬度低下するため、受注生産。 |
| タイプ | 色 | 硬度 | 硬度変化 | インキ乗り | 離型性 | 寿命 | オイルブリード |
|---|---|---|---|---|---|---|---|
| Gタイプ | ライトグリーン | 0,1,2,3,4,4H | なし | 4 | 4 | 3 | 4 |
| Dタイプ | 白 | 3 | なし | 5 | 2 | 3 | 5 |
| Eタイプ | レッドブラウン | 3 | なし | 4 | 2 | 3 | 3 |
| Cタイプ | レッドブラウン | 2,3,4 | なし | 3 | 1 | 3 | 3 |
| Oタイプ | グリーン | 0,1,2,3,4,4H | なし | 3 | 4 | 2 | 1 |
| Aタイプ | ベージュ | 1,2,3 | 低下 | 2 | 4 | 3 | 2 |
インキ乗り、離型性、寿命、オイルブリードの評価は 5=優 >>> 1=劣 です。
④ベース(補助板)
ナビタス製パッドには、以下のベースがあります。
| ベースタイプ | 備考 |
|---|---|
| 合板 | 合板製補助板が付いています。補助板をカットしなければならない場合は、合板ベースが便利です。 |
| アルミ | 取付精度、クリーン度が必要な場合はアルミベースが適しています。 |
| ワンタッチパッド |
※ 特許取得済 |
| プラ | 標準のパッドホルダーで取付できます。合板をナイロン樹脂に変えた補助板で予め多数の取付用下穴があけられています。合板のように木クズが出ませんのでクリーンで衛生的です。切断はノコギリで可能ですが、合板製補助板の方が容易です。 |
パッド仕様 形状・型番から調べる
円錐型 φ3~17mm
| 型番 | 186 | 124 | 034 | 035 | 100 | 085 | 086 | |
|---|---|---|---|---|---|---|---|---|
| 本体サイズ | ||||||||
| 印刷範囲 | φ3 | φ7 | φ14 | φ14 | φ14 | φ17 | φ17 | |
| 生産体制 | 合板ベース | 特注 | 特注 | 標準 | 標準 | 特注 | 標準 | 標準 |
| アルミベース | 標準 | 標準 | 特注 | 特注 | 標準 | 特注 | 特注 | |
| ワンタッチパッド | 特注 | 特注 | 特注 | 特注 | 特注 | 特注 | 特注 | |
| プラベース | 特注 | 特注 | 特注 | 特注 | 特注 | 特注 | 特注 | |
円錐型 φ20~28mm
| 型番 | 176 | 001 | 016 | 017 | 107 | 026 | 164 | |
|---|---|---|---|---|---|---|---|---|
| 本体サイズ | ||||||||
| 印刷範囲 | φ20 | φ22 | φ24 | φ24 | φ26 | φ27 | φ28 | |
| 生産体制 | 合板ベース | 標準 | 標準 | 標準 | 標準 | 特注 | 標準 | 標準 |
| アルミベース | 特注 | 特注 | 特注 | 特注 | 標準 | 特注 | 特注 | |
| ワンタッチパッド | 特注 | 特注 | 特注 | 特注 | 特注 | 標準 | 特注 | |
| プラベース | 特注 | 特注 | 特注 | 特注 | 特注 | 標準 | 特注 | |
円錐型 φ30~38mm
| 型番 | 018 | 092 | 184 | 045 | |
|---|---|---|---|---|---|
| 本体サイズ | |||||
| 印刷範囲 | φ30 | φ35 | φ35 | φ38 | |
| 生産体制 | 合板ベース | 標準 | 標準 | 標準 | 標準 |
| アルミベース | 特注 | 特注 | 特注 | 特注 | |
| ワンタッチパッド | 標準 | 標準 | 標準 | 特注 | |
| プラベース | 標準 | 標準 | 標準 | 特注 | |
円錐型 φ40~47mm
| 型番 | 003 | 095 | 047 | 020 | 023 | 109 | |
|---|---|---|---|---|---|---|---|
| 本体サイズ | |||||||
| 印刷範囲 | φ40 | φ40 | φ42 | φ47 | φ47 | φ47 | |
| 生産体制 | 合板ベース | 標準 | 標準 | 標準 | 標準 | 標準 | 標準 |
| アルミベース | 特注 | 特注 | 特注 | 特注 | 特注 | 特注 | |
| ワンタッチパッド | 特注 | 特注 | 標準 | 標準 | 特注 | 標準 | |
| プラベース | 特注 | 特注 | 標準 | 標準 | 特注 | 標準 | |
円錐型 φ50~60mm
| 型番 | 027 | 131 | 008 | 055 | 019 | 192 | |
|---|---|---|---|---|---|---|---|
| 本体サイズ | |||||||
| 印刷範囲 | φ50 | φ55 | φ60 | φ60 | φ60 | φ60 | |
| 生産体制 | 合板ベース | 標準 | 標準 | 標準 | 標準 | 標準 | 標準 |
| アルミベース | 特注 | 特注 | 特注 | 特注 | 特注 | 特注 | |
| ワンタッチパッド | 標準 | 特注 | 標準 | 特注 | 標準 | 特注 | |
| プラベース | 標準 | 特注 | 標準 | 特注 | 標準 | 特注 | |
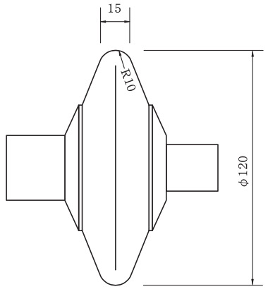
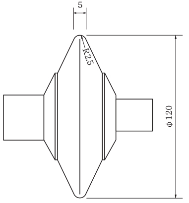
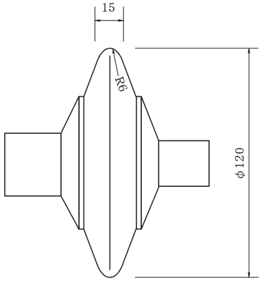
円錐型 φ70mm~
| 型番 | 049 | 051 | 174 | 179 | 058 | |
|---|---|---|---|---|---|---|
| 本体サイズ | ||||||
| 印刷範囲 | φ70 | φ70 | φ70 | φ85 | φ120 | |
| 生産体制 | 合板ベース | 標準 | 標準 | 標準 | 標準 | 標準 |
| アルミベース | 特注 | 特注 | 特注 | 特注 | 特注 | |
| ワンタッチパッド | 特注 | 特注 | 特注 | 特注 | 特注 | |
| プラベース | 特注 | 特注 | 特注 | 特注 | 特注 | |
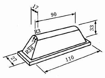
円錐台型 8~20mm
| 型番 | 048 | 043 | 042 | 044 | 187 | 041 | |
|---|---|---|---|---|---|---|---|
| 本体サイズ | |||||||
| 印刷範囲 | φ8mm | 10×14mm | 10×18mm | 14×20mm | 20×40mm | 20×65mm | |
| 生産体制 | 合板ベース | 特注 | 標準 | 標準 | 標準 | 標準 | 標準 |
| アルミベース | 標準 | 特注 | 特注 | 特注 | 特注 | 特注 | |
| ワンタッチパッド | 特注 | 標準 | 標準 | 標準 | 特注 | 特注 | |
| プラベース | 特注 | 標準 | 標準 | 標準 | 特注 | 特注 | |
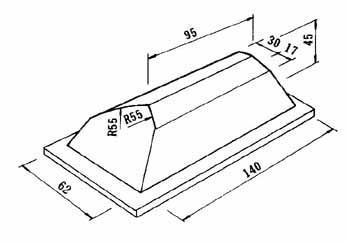
円錐台型 30~36mm
| 型番 | 162 | 163 | 12001 | 140 | |
|---|---|---|---|---|---|
| 本体サイズ | |||||
| 印刷範囲 | 30×20mm | 30×20mm | 35×50mm | 36×70mm | |
| 生産体制 | 合板ベース | 標準 | 標準 | 標準 | 標準 |
| アルミベース | 特注 | 特注 | 特注 | 特注 | |
| ワンタッチパッド | 特注 | 特注 | 特注 | 特注 | |
| プラベース | 特注 | 特注 | 特注 | 特注 | |
円錐台型 40〜55mm
| 型番 | 106 | 243 | 032 | 052 | |
|---|---|---|---|---|---|
| 本体サイズ | |||||
| 印刷範囲 | 40×55mm | 40×200mm | φ45mm | 55×70mm | |
| 生産体制 | 合板ベース | 標準 | 標準 | 標準 | 標準 |
| アルミベース | 特注 | 特注 | 特注 | 特注 | |
| ワンタッチパッド | 特注 | 特注 | 特注 | 特注 | |
| プラベース | 特注 | 特注 | 特注 | 特注 | |
円錐台型 60~65mm
| 型番 | 046 | 030 | 122 | 167 | 070 | 057 | 169 | |
|---|---|---|---|---|---|---|---|---|
| 本体サイズ | ||||||||
| 印刷範囲 | 60×20mm | 60×60mm | 60×60mm | 60×80mm | 60×100mm | 60×110mm | 65×120mm | |
| 生産体制 | 合板ベース | 標準 | 標準 | 標準 | 標準 | 標準 | 標準 | 標準 |
| アルミベース | 特注 | 受注生産 | 受注生産 | 受注生産 | 特注 | 受注生産 | 受注生産 | |
| ワンタッチパッド | 特注 | 受注生産 | 受注生産 | 受注生産 | 特注 | 受注生産 | 受注生産 | |
| プラベース | 特注 | 受注生産 | 受注生産 | 受注生産 | 特注 | 受注生産 | 受注生産 | |
円錐台型 80mm~
| 型番 | 125 | 133 | 060 | 143 | 142 | 159 | |
|---|---|---|---|---|---|---|---|
| 本体サイズ | |||||||
| 印刷範囲 | 80×200mm | 90×110mm | 90×120mm | 90×250mm | 130×280mm | 150×200mm | |
| 生産体制 | 合板ベース | 標準 | 標準 | 標準 | 標準 | 標準 | 標準 |
| アルミベース | 特注 | 受注生産 | 受注生産 | 受注生産 | 特注 | 受注生産 | |
| ワンタッチパッド | 特注 | 受注生産 | 受注生産 | 受注生産 | 特注 | 受注生産 | |
| プラベース | 特注 | 受注生産 | 受注生産 | 受注生産 | 特注 | 受注生産 | |
かまぼこ型 6~8mm
| 型番 | 191 | 105 | 040 | |
|---|---|---|---|---|
| 本体サイズ | ||||
| 印刷範囲 | 6×55mm | 6×150mm | 8×60mm | |
| 生産体制 | 合板ベース | 標準 | 標準 | 標準 |
| アルミベース | 受注生産 | 受注生産 | 受注生産 | |
| ワンタッチパッド | 受注生産 | 受注生産 | 受注生産 | |
| プラベース | 受注生産 | 受注生産 | 受注生産 | |
かまぼこ型 10~13mm
| 型番 | 117 | 134 | 171 | 088 | 182 | |
|---|---|---|---|---|---|---|
| 本体サイズ | ||||||
| 印刷範囲 | 10×440mm | 12×65mm | 12×140mm | 12×160mm | 13×60mm | |
| 生産体制 | 合板ベース | 標準 | 標準 | 標準 | 標準 | 標準 |
| アルミベース | 受注生産 | 受注生産 | 特注 | 受注生産 | 受注生産 | |
| ワンタッチパッド | 受注生産 | 受注生産 | 特注 | 受注生産 | 受注生産 | |
| プラベース | 受注生産 | 受注生産 | 特注 | 受注生産 | 受注生産 | |
かまぼこ型 16〜18mm
| 型番 | 039 | 135 | 172 | 145 | 037 | 029 | 173 | |
|---|---|---|---|---|---|---|---|---|
| 本体サイズ | ||||||||
| 印刷範囲 | 16×60mm | 16×80mm | 16×140mm | 16×150mm | 18×30mm | 18×45mm | 18×120mm | |
| 生産体制 | 合板ベース | 標準 | 標準 | 標準 | 標準 | 標準 | 標準 | 標準 |
| アルミベース | 受注生産 | 受注生産 | 特注 | 受注生産 | 受注生産 | 受注生産 | 受注生産 | |
| ワンタッチパッド | 受注生産 | 受注生産 | 特注 | 受注生産 | 受注生産 | 受注生産 | 受注生産 | |
| プラベース | 受注生産 | 受注生産 | 特注 | 受注生産 | 受注生産 | 受注生産 | 受注生産 | |
かまぼこ型 20~22mm
| 型番 | 144 | 072 | 069 | 050 | 166 | 181 | 104 | |
|---|---|---|---|---|---|---|---|---|
| 本体サイズ | ||||||||
| 印刷範囲 | 20×65mm | 20×70mm | 20×80mm | 22×60mm | 22×125mm | 22×150mm | 22×400mm | |
| 生産体制 | 合板ベース | 標準 | 標準 | 標準 | 標準 | 標準 | 標準 | 標準 |
| アルミベース | 受注生産 | 受注生産 | 受注生産 | 受注生産 | 受注生産 | 受注生産 | 受注生産 | |
| ワンタッチパッド | 受注生産 | 受注生産 | 受注生産 | 受注生産 | 受注生産 | 受注生産 | 受注生産 | |
| プラベース | 受注生産 | 受注生産 | 受注生産 | 受注生産 | 受注生産 | 受注生産 | 受注生産 | |
かまぼこ型 24〜25mm
| 型番 | 015 | 108 | 067 | 177 | |
|---|---|---|---|---|---|
| 本体サイズ | |||||
| 印刷範囲 | 24×40mm | 24×70mm | 24×145mm | 25×190mm | |
| 生産体制 | 合板ベース | 標準 | 標準 | 標準 | 標準 |
| アルミベース | 受注生産 | 受注生産 | 受注生産 | 受注生産 | |
| ワンタッチパッド | 受注生産 | 受注生産 | 受注生産 | 受注生産 | |
| プラベース | 受注生産 | 受注生産 | 受注生産 | 受注生産 | |
かまぼこ型 30mm
| 型番 | 014 | 075 | 074 | 157 | |
|---|---|---|---|---|---|
| 本体サイズ | |||||
| 印刷範囲 | 30×60mm | 30×60mm | 30×80mm | 30×80mm | |
| 生産体制 | 合板ベース | 標準 | 標準 | 標準 | 標準 |
| アルミベース | 受注生産 | 受注生産 | 受注生産 | 受注生産 | |
| ワンタッチパッド | 受注生産 | 受注生産 | 受注生産 | 受注生産 | |
| プラベース | 受注生産 | 受注生産 | 受注生産 | 受注生産 | |
かまぼこ型 40mm
| 型番 | 190 | 168 | 054 | 094 | |
|---|---|---|---|---|---|
| 本体サイズ | |||||
| 印刷範囲 | 40×75mm | 40×120mm | 40×150mm | 40×320mm | |
| 生産体制 | 合板ベース | 標準 | 標準 | 標準 | 標準 |
| アルミベース | 受注生産 | 受注生産 | 受注生産 | 受注生産 | |
| ワンタッチパッド | 受注生産 | 受注生産 | 受注生産 | 受注生産 | |
| プラベース | 受注生産 | 受注生産 | 受注生産 | 受注生産 | |
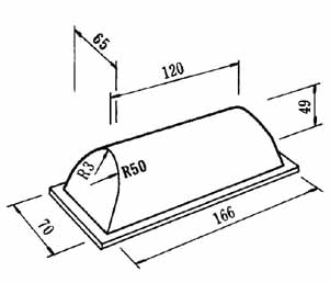
かまぼこ型 45mm〜
| 型番 | 077 | 071 | 154 | 053 | 091 | 209 | |
|---|---|---|---|---|---|---|---|
| 本体サイズ | |||||||
| 印刷範囲 | 45×390mm | 49×90mm | 50×115mm | 50×140mm | 65×100mm | 80×150mm | |
| 生産体制 | 合板ベース | 標準 | 標準 | 標準 | 標準 | 標準 | 標準 |
| アルミベース | 受注生産 | 受注生産 | 受注生産 | 受注生産 | 受注生産 | 受注生産 | |
| ワンタッチパッド | 受注生産 | 受注生産 | 受注生産 | 受注生産 | 受注生産 | 受注生産 | |
| プラベース | 受注生産 | 受注生産 | 受注生産 | 受注生産 | 受注生産 | 受注生産 | |
円筒・円盤型
| 型番 | 126 | 123 | 101 | 099 | |
|---|---|---|---|---|---|
| 本体サイズ | |||||
| 印刷範囲 | 幅4mm | 幅8mm | 幅11mm | 幅100mm | |



